Ответвитель DPX крестообразный 600х80
Ответвитель DPX крестообразный 600х80
18 29522 

Ответвитель DPX крестообразный 600х80

169072
10 дн.
Гарантии безопасности
21 день на возврат
Безопасная онлайн-оплата
Официальная гарантия производителя
Стоимость и сроки доставки
Код товара169072
Описание
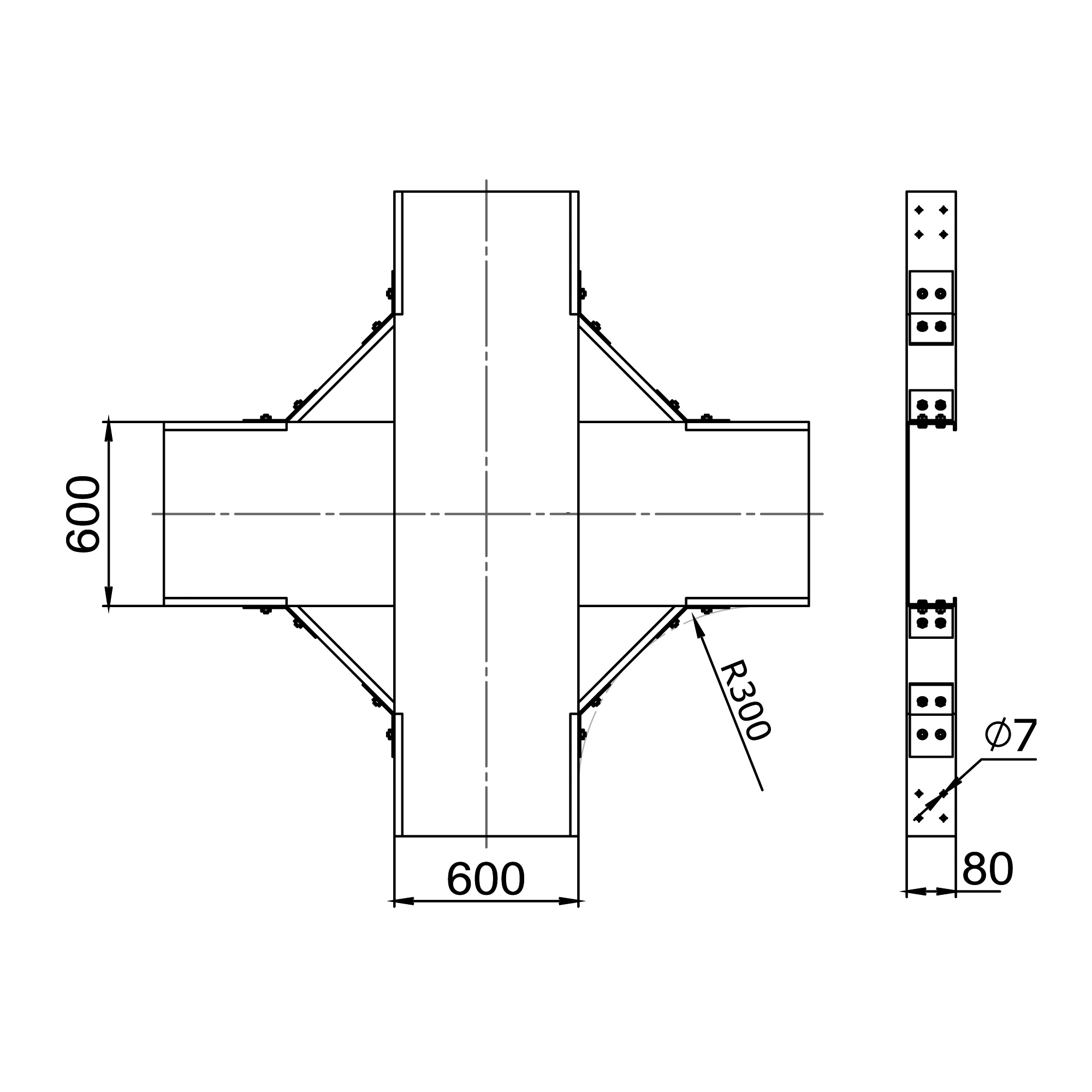
Для построения сложной кабельной трассы с многочисленными поворотами и ответвлениями на основе стеклопластиковых лотков системы "G5 Combitech" применяются разнообразные аксессуары. Крестообразный (X-образный) ответвитель применяется для осуществления двусторонних отводов кабеля в горизонтальной плоскости. Аксессуар комплектуется крышкой – при применении в комплекте они защищают кабель от механического воздействия, попадания влаги и мелких частиц в кабельный лоток – максимальный уровень пыле- и влагозащиты. Крышка прочно фиксируется и легко снимается при необходимости. Ответвитель совместим с лотками шириной 600 мм и высотой 80 мм. Аксессуар выполнен из стеклопластика толщиной 3 мм.
Характеристики изделия
Модель/исполнение .......... Без соединит. разъема
Вид/ марка материала .......... Стеклопластик (фиберглас, grp)
Внутр. радиус, мм .......... 300
Ширина кабельного лотка, мм .......... 600
Высота кабельного лотка, мм .......... 80
Nato монтажные отверстия .......... Да
Нержавеющая сталь травлёная .......... Да
Исполнение для больших расстояний (усиленный) .......... Да
Подходит для обеспеч. целостности цепи (огнестойкость) .......... Да
Особенности
Массо-габаритные характеристики
Вес, кг
0.0
Единица измерения
шт
Заводская упаковка
1.0 шт
Объем, м3
0.0
Общие характеристики
Страна происхождения
Россия
Штрихкод
4690309842355
Код товара
169072
Производитель
DKC
Артикул производителя
GCX90860R
Основные характеристики
Высота, мм
80
Материал изделия
стеклопластик
Серия
g5 combitech
Тип изделия
Ответвитель X-образный
Ширина, мм
600
Отзывы

Отзывы не найдены

Возможно, вас это заинтересует
  • Самые популярные
  • Распродажа
  • Недавно просмотренные
 
Быстро и качественно доставляем

Наша компания производит доставку по всей России и ближнему зарубежью

Гарантия качества и сервисное обслуживание

Мы предлагаем только те товары, в качестве которых мы уверены

Возврат товара в течение 21 дня

У вас есть 21 день для того чтобы протестировать вашу покупку